如图所示,用绳子拴住一个苹果并悬挂起来,把苹果拉近自己的鼻子静止,松手后,苹果将向前摆去,接着又反向摆回来,你原地不动,苹果会打到你的鼻子吗?为什么?

李明在运动场上看到了一些场景,他运用学过的物理知识进行分析,下列正确的是

[ ]
A.踢出去的足球在草地上滚动时慢慢停下来,是因为足球没有受到力的作用
B.百米冲线后没有立即停下来,是因为受到惯性的作用
C.在做引体向上,在单杠上静止不动时,人对单杠的拉力和他的重力是一对平衡力
D.人正在跳高,当他腾跃到最高点时,势能最大
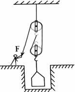
如图所示,是建筑工人利用滑轮组从竖直深井中提取泥土的情形。某次操作中,工人用360N的拉力F在1min内将总重为600N的泥土匀速提升5m。在这段时间内:

(1)工人所做的有用功是多少?
(2)拉力F所做的总功是多少?
(3)拉力F的功率是多少?
“云深不知处”中“云深”指的是?
A、山的高处有云
B、指云层厚
C、山中云雾弥漫的深处
工人师傅用起重机在20s内把质量为103kg的货物匀速竖直提高6m.求:
(1)货物的重力; (2)货物上升的速度; (3)起重机的功率.
如图所示,用5N向上的拉力使金属球沿折线由A经B、C、D、E到达F,已知每一条线段都是20cm,在这个过程中,拉力做的功是

[ ]
A.5J
B.3J
C.2J
D.1J
1%。我们在享受网络文化时,正确的态度是()
①自觉遵守网络道德和法律②网络交往具有虚拟性、间接性和隐蔽性,所以要拒绝网络
③增强自我保护意识,自觉抵制不良诱惑④浏览色情、暴力、迷信等网络信息时,要有所节制,不可沉迷
A.①③
B.②③
C.①④
D.①②
功率是表示物体___\_的物理量,某台机器的功率是100W,表示这台机器在1s内能做功______.
(三)阅读《心灵折旧费》。回答17—21题(14分)
心灵折旧费
①20元钱,大哥受益一生。
②这是五年前的事儿了。那时,大哥刚刚下岗,在县城的一个十字路口,租了一间铁皮小屋,卖些烟酒之类的东西。
③一天,夕阳沉沉地挂在天边。一位中年汉子走到大哥的铁皮屋前,汉子放下手中沉甸甸的编织袋,从口袋里摸索出五毛钱,买了一包低档的香烟。汉子抽出一根烟,点上,然后和大哥寒暄起来。从谈话中,大哥了解到,汉子就是我们县的人,刚刚从外地打工回来。汉子说,他的家距离县城还有二十几里的土路,他很犹豫地提出,能不能从大哥那里借一辆自行车,因为他已经坐了一晚上和一白天的车了。大哥看看夜幕已经降临,又打量着眼前这位陌生的民工,最后还是把他那辆“除了铃不响,剩下哪儿都响”的“东方红”牌自行车推了出来。当时的大哥,确实多了一个心眼,他本来刚买了一辆新自行车,但是大哥可不敢轻易地相信别人。汉子十分感动,说最晚明天上午就把车还回来。也许是由于匆忙,汉子并没有来得及留下他的姓名以及村名,就匆匆地骑车走了。当我的嫂子听说大哥把自行车借给一位陌生人的时候,和大哥大闹了一场。嫂子说我大哥是榆木疙瘩不开窍,这回肯定被人骗了,不信等着瞧。
④第二天上午,大哥焦急地等候在铁皮屋前,他多么希望那位汉子早点出现呀。然而,时间一分一秒地过去了,大街上人来人往,就是没有那位汉子的身影。嫂子在一旁不断地敲敲打打、冷嘲热讽,大哥由沉默变得烦躁,又由烦躁变得愤怒。
⑤到了中午,太阳放着刺眼的光芒。汉子仍然没有来,大哥终于绝望了,任凭嫂子把他骂得狗血喷头。大概是在中午12点半的时候,那位汉子骑着车子忽然出现在大哥面前。汉子擦了一把脸上的汗水,连声说着:“对不起,对不起,来晚了。”大哥先是惊喜,但随之而来的是一股无名之火从心底升起。大哥厉声说:“对不起个屁!你耽误了我大事!”汉子很尴尬地站在一旁,手足无措。
⑥忽然,大哥灵机一动说:“这样吧,我不能把自行车白借给你,你得掏个钱,就算是车子的‘折旧费’吧。”大哥很为自己的聪明得意了一番。他知道,自己的这一招肯定会赢得老婆的赞许。果然,一直在旁边站立的我的嫂子,脸上顿时露出了欣慰的笑容。但是,那位汉子显然被这突如其来的变化搞懵了,他嗫嚅着说:“行……你说……多少钱?”大哥说:“你拿20块钱吧。”汉子没有说话,从口袋里掏出两张十元的纸币,递给大哥。然后,汉子又说了一声:“谢谢你了,俺走了。”说完,汉子头也不回地融入人群之中。
⑦看着汉子已经走远,大哥才转过身,把那20元钱狠狠地甩给嫂子。然后,大哥准备把车子往里推一下。忽然,大哥愣住了!因为他看到了一个崭新的车铃,用手一拨,发出一阵脆响。大哥再仔细一看,车子确实是自己的“东方红”,但是变化的不仅仅是车铃,还有两只崭新的脚蹬子、刚刚上了油的链条以及擦拭一新的车瓦。
⑧大哥一下子明白了。他一把抢过嫂子手中的20元钱,赶紧跑上街头。但是,那个汉子的身影已经无从寻觅。阳光刺痛了他的眼……
⑨如今,大哥自己开办了一家企业,企业红红火火。大哥多次对我说,那20元钱,是他一生的心灵折旧费。(选文有改动)
17.(3分)用简明的语言按故事情节填空。

人体代谢产生的过氧化氢,对人体有毒害作用。人体肝脏中的过氧化氢酶能催化过氧化氢分解产生氧气和水。某同学查阅资料发现,FeCl3也能催化过氧化氢分解。为比较过氧化氢酶和FeCl3催化效率的高低,该同学在28℃环境下进行了如下探究:
(1)提出问题:过氧化氢酶和FeCl3催化效率哪个更高?
(2)猜想与假设:____。
(3)实验材料:适宜浓度的FeCl3溶液,适宜浓度的新鲜猪肝研磨液(含有过氧化氢酶),适宜浓度的过氧化氢溶液等。
(4)实验步骤:
①取2支洁净的试管,编号为1、2,并各注入3mL适宜浓度的过氧化氢溶液;
②向1号试管内滴入2滴适宜浓度的FeCl3溶液,向2号试管内____;
③观察并记录两支试管产生气泡的情况。
(5)预测实验结果:
请写出一种可能的实验结果:____。
(6)在以上探究的基础上,该同学又完成了“探究温度对猪肝研磨液和FeCl3催化效率的影响”实验。实验结果如图所示。图中代表猪肝研磨液催化效率的曲线是__\__,判断的理由是____。
题22表是苏联第一个五年计划时期的一组数据。由此可见()

A.A.实际完成数额与预期相差甚远
B.B.农业、轻工业、重工业比例失调
C.C.工业产品质量好、种类多
D.D.从落后的农业国变成先进的工业国
利用如图装置进行“探究动能大小的影响因素”实验。用两根细绳将小球悬挂起来,拉起小球,当细绳与竖直方向成θ角后松手,小球撞击水平木板上的木块,记下木块移动的距离s。改变角度θ的大小,重复实验。

(1)利用如图两根细绳悬挂小球,而不用一根细绳,其好处是 。
(2)本实验探究的问题是物体的动能大小与 的关系。
(3)利用上述实验,同时还可以探究的问题是 。
如图,小玲同学站在匀速运行的自动扶梯上,以扶梯为参照物,她是_____\_(选填“静止”或“运动”)的。小玲在上升过程中动能____(选填“变大”、“不变”或“变小”)。已知扶梯的速度为0.5米/秒,从底部到顶部的运行距离为18米,则所需的时间为____秒。

自行车下坡时,不蹬踏板速度也会越来越快,在此过程中,自行车的动能逐渐____,自行车的重力势能逐渐____。
一台抽水机的功率是1.2kW,它在5min内做功___\_J,这些功可以把重______N的水抽到20m高的水塔上去.